宝石的款式设计完成后,就要按照设计方案进行加工,宝石的款式不同,加工工艺流程也不同,现分述如下:
一、凸面型宝石加工流程
采用凸面型琢型的宝石一般选用半透明-不透明的宝石原料,主要突出表现宝石的颜色、光泽和特殊光学效应(如猫眼效应、星光效应等),能充分弥补宝石在火彩、透明度和瑕疵方面的不足。凸面型宝石的材料广泛,一般没有什么特定的要求,常用的宝石种类有:翡翠、红宝石、蓝宝石、欧泊、金绿宝石、石榴子石、玛瑙等。其加工流程为:
出坯→圈形→上杆→预形→细磨→抛光→后期处理
(一)出坯
出坯包括画线和下料两道工序:
1.画线
画线对于颗粒小的贵重宝石原料是不必要的,因为此类宝石原石一般直接在修整锯上稍稍去除边角余料,就可进入下道工序(圈形)。
对大块原料经切割成的片料,为了料尽其用和准确方便,要进行画线。画线是用画笔在片料上画出凸面型宝石的腰形。画线所用的画笔为带有尖端的黄铜棒或铝棒,长度为10~15cm,也可使用彩色铅笔。
为了准确按一定的规格画出腰形,通常要使用模版(图11-4-1所示)。模版多用塑料、有机玻璃片或不锈钢制成。模版上有许多根据生产要求而设计的不同图形、不同尺寸的孔,画线时,将模版上选定的形状孔对在宝石原料上,用画笔画出腰形的轮廓,画得越细越好。
图11-4-1 模板
2.下料
下料的方法就是锯割,即用修边锯沿所画的轮廓线锯割,要留出大约2~4mm的余量,以免因宝石性脆,切割时产生的裂纹延伸到轮廓线内,造成不必要的损失。
切割时用修边锯,其操作步骤如下:(1)清洗载石台,打开冷却水,冷却锯片,以免原料与锯片在摩擦中温度过高。
(2)手持原料,用力均衡地推入锯片,要控制好进料的压力,一般以片料顺畅进刀而不产生火花或火花极少为好。一般开始进料时速度放慢,待原料进入一段后,要沿直线加快速度,但不能突然用力,快要切透时,放慢速度以免崩口。
(3)重复上述步骤,切除画线以外的多余量。如图11-4-2所示。
(二)圈形
圈形就是用砂轮圈出毛坯的腰形。圈形一般用直径>250mm的砂轮,磨料用80#~100#的碳化硅,具体步骤如下:
(1)打开冷却水和轮磨机。
(2)毛坯底面朝上,用手捏稳,用力均匀地把毛坯边缘和棱角磨去,所圈形状要平滑、自然、呈弧线,与所画轮廓线等距,留出大约0.5~1mm的余量,所圈腰面要与底面垂直(见图11-4-3)。
(3)圈形完成后,为防止底面边缘因尖利而崩口,可在底面边缘磨出一个小斜面,使之与底面的夹角为40°~45°,此时,小斜面的一边可与轮廓线重合但不要磨去轮廓线。
图11-4-2 下料时毛坯的形状

图11-4-3 毛坯俯视图
(三)上杆
圈形后的毛坯在预形前要上杆。上杆就是用胶将宝石毛坯和粘杆粘在一起。对于经验丰富的宝石工匠,可直接手持毛坯进行预形,但对于初学者,则需要上杆,因为这样做既可以固定宝石,又可避免伤手。
粘杆一般长100~150mm,一端为圆形,直径约6~12mm不等,是用黄铜、铁或硬木制作的。具体上杆步骤为:
(1)用酒精清洗宝石毛坯和粘杆(少数化学性质不稳定的宝石只能用自来水清洗)。
(2)将胶弄成碎片,放入烧杯中,用酒精灯加热至熔化。
(3)把粘杆的粘结端浸入熔融的胶中,浸入深度约10mm,稍停片刻,让胶完全浸润粘杆,然后取出备用。
(4)用镊子夹住宝石毛坯在酒精灯上加热,使毛坯受热均匀,以免炸裂,对于怕热的宝石可用石棉网间隔加热。
(5)把毛坯底面与带胶的粘杆粘结在一起。在胶未完全硬结时,用手扶正毛坯,使毛坯的底面垂直粘杆,然后自然冷却。
(四)预形(图11-4-4)
预形就是用砂轮磨削出宝石的造型。预形所用的工具为轮磨机,有两个粗细不同的碳化硅砂轮,粗砂轮的直径为300~400mm左右,磨料粒度为80#~100#;细砂轮的直径为200~300mm,磨料粒度为180#~220#。粗砂轮的主要作用是磨削掉毛坯的余量,细砂轮的作用则是进一步修整去掉粗砂轮留下的预形余量和划痕、微裂隙,提高坯料表面的光滑度。通过预形,毛坯基本获得设计中的凸面形状,其具体步骤如下:
(1)打开冷却水和轮磨机,待砂轮转动平稳后开始预形。
(2)手持粘杆将坯料顶部磨出一斜面,斜面的边不要超出底面、小斜面的边(圈形时所磨出的小斜面),最好留有余量。磨斜面时,用力要均匀,且不断转动粘杆,使斜面尽量成圆环带,圆环带与垂直面的夹角约10°~15°。
(3)在第一个圆环带磨好后,向顶部方向磨出第二个圆环带,并依此向顶部磨出第三个、第四个圆环带,依此类推,使毛坯的顶面由阶梯状的弧面越来越趋近于较光滑的弧面。
(4)换用细砂轮,清洗毛坯,防止较粗的颗粒带到细砂轮上。再按上面的步骤进行,直到磨削掉宝石毛坯的多余量,并有较好的光滑度。

图11-4-4 预形的过程
(五)细磨
细磨的作用是为了提高宝石毛坯的光滑度,并进一步提高造型精度的工序。
细磨所用的工具主要有轮磨机、带磨机和盘磨机等,它们的共同特点是:在磨盘上覆盖一层有弹性的材料,当磨盘受到宝石毛坯压迫时,会自动产生一个屈服面,将毛坯包住,即磨盘弹性表层与宝石毛坯弧面呈球形磨面。正是因为这个屈服面的存在,使它增大了与宝石的接触,而且这个屈服面的磨削力远比砂轮的磨削力柔和得多,从而使宝石毛坯的圆滑度大大提高。
1.轮磨
细磨所用的轮磨机在外形上与砂轮相似。其基体用金属或木轮制作,外圈用橡皮套粘结在基体上。橡皮厚约10~15mm,内含金刚石粉。这种橡皮轮适用于磨削红蓝宝石这样硬度高的宝石。其外圈也可用皮革代替,所用磨料为240#或280#的碳化硅。
2.带磨
使用带磨机进行细磨,效率很高。将宝石凸面顶在砂带上,砂带产生屈服面,包住宝石,可增大宝石的磨削面积。
3.盘磨
盘磨是较常用的细磨方法。其基体多为金属或硬木料制成,盘面微凸,上面粘结一块5~10mm之间的毛毡或软泡沫塑料,最外层用呢绒布或细帆布,也可用皮带。磨料为220#~280#的碳化硅或280#与W40的金刚石粉。
(六)抛光
宝石的抛光加工工艺包括平面抛光工艺、弧面抛光工艺和滚抛工艺等。由于宝石的成分和性质各异,抛光时所用的抛光盘、抛光料也不相同(表11-4-1)。主要的抛光盘材料有:铁、铜、锡、铝、铅、锌、胶木、有机玻璃、皮革和木材等。主要的抛光料:金刚石、氧化硅、氧化铝、氧化铬、氧化锡等微粉。
凸面型宝石的抛光工序、设备与细磨工序和设备有类似之处。若抛光工具用木盘,则要在其表面蒙上弹性材料,如毛毡、皮革、呢绒、帆布等,以产生屈服面。具体操作步骤如下:
(1)清洗宝石毛坯和抛光盘。
(2)打开抛光机,用刷子在抛光盘上涂一点抛光剂(抛光剂是用水或其他分散剂将抛光粉调成糊状而成),一次涂的量不能太多。
(3)抛光时,要从坯料的边缘开始,再渐渐过度到顶部,要用力均匀,使抛光的弧面光滑,并要随时检查抛光情况。

表11-4-1 不同宝石所使用的抛光盘和抛光剂表
(七)后期处理
宝石坯料抛光后,通常要进行如下的后期处理:
(1)拆胶:把宝石和粘杆用酒精灯加热,使胶融化,取下宝石。
(2)清洗:把带有少量胶的宝石和粘杆分别放入酒精中,待胶溶解后,把宝石和粘杆取出,用清水洗净。
(3)底面处理:用220#的细砂纸或平砂盘,把底面磨平。若宝石的透明度好,底面还需抛光。
(4)上蜡:底面处理后的宝石清洗、晾干、上蜡,以填补微裂隙并增加宝石的表面光洁度。
二、刻面宝石的加工流程
一般对透明度好的宝石采用刻面型琢型,刻面型琢型的加工工艺比凸面型要复杂得多,其加工工艺流程如下:
出坯→上杆→圈形→冠部研磨→冠部抛光→(翻转宝石)上杆→亭部研磨→亭部抛光→后期处理
1.出坯
通常采用劈切法和锯切法将原石分割成小块料,用粗盘粗磨加工出基准面(台面),并用粗磨或细磨的方式去掉有瑕疵的部分。
2.上杆
将宝石的基准面紧贴粘接架的垂直面,用粘胶把宝石的亭部粘在加工杆上。粘杆的粘接端有多种形状(图11-4-5),以便粘接不同琢型的宝石。上杆的具体步骤为:

图11-4-5 粘杆的类型
(1)将粘杆和宝石毛坯的表面洗净。
(2)将粘杆预热,再预热宝石毛坯,宝石受热要均匀。
(3)用胶把粘杆和宝石毛坯的亭部粘结在一起,趁胶未完全凝固时,纠正角度。要求毛坯的中心线与粘杆轴线重合,基准面与粘杆垂直。
3.圈形
圈出宝石的腰部形状和冠部的基本弧面,圈形时所用的磨料粒度为180#~220#。在圈腰形时,要确保粘杆轴线与磨盘面平行,这样才能保证毛坯顶面垂直于腰面。在圈冠部的基本弧面时,弧度要小,即弧面与粘杆的夹角要小,弧面曲率要一致(图11-4-6),否则会影响到冠部刻面的研磨。
4.冠部研磨
冠部研磨要在宝石刻磨机上完成。宝石刻磨机有两种:八角手刻磨机和机械手刻磨机。刻磨机使用的磨盘直径一般为150mm的金刚石磨盘,磨料的粒度一般为600目。研磨的顺序为台面、冠部主刻面、星小面、上腰面。具体步骤如下(以八角手刻磨机为例):
(1)打开刻磨机和冷却水。
(2)将带毛坯的粘杆安装到45°块上,再把45°块安装在宝石刻磨机上,使台面朝下,平行于磨盘,然后将宝石的台面磨平(图11-4-7)
(3)卸下45°块,把带有毛坯的粘杆直接安装到八角手刻磨机上,调节主机平台,使宝石与磨盘呈40°接触(冠部角度为40°),并调节八角手到1孔位,通过八角手八条边在平台上转动,可磨出冠部的8个主刻面,磨出的主刻面要保证大小一致,台面直径达到腰直径的50%~60%。

图11-4-6 宝石冠部的圈形

图11-4-7 用45°块研磨冠部台面
1—45°块;2—粘杆;3—宝石坯料;4—磨盘;5—夹具;6—托架
(4)提升主机平台,使毛坯与磨盘成25°,调节八角手到2孔位,通过八边的转动可磨出8个星小面。此时星小面与主面刚好为两个正方形。
(5)下降主机平台,使毛坯与磨盘成46°,调节八角手到3孔位,通过八边的转动,磨出冠部左边的8个腰面(如图11-4-8)

图11-4-8 圆钻型冠部的研磨步骤
(6)保持平台不动,调节八角手到4孔位,通过八边的转动,磨出冠部右边的8个腰面。
5.冠部的抛光
抛光时,将磨盘换下,装上抛光盘,然后涂上抛光剂。
抛光的顺序是:首先抛光8个星小面,再抛光8个主小面,然后抛光16个上腰小面,最后抛光台面。
抛光中应注意的问题是:
(1)抛光的角度要与研磨角度一致,否则会有多余的小面出现。
(2)抛光盘面与抛光剂要保持干净,不能有较粗粒的磨粒残留,否则不仅达不到抛光的效果,反而使宝石表面留下擦痕。
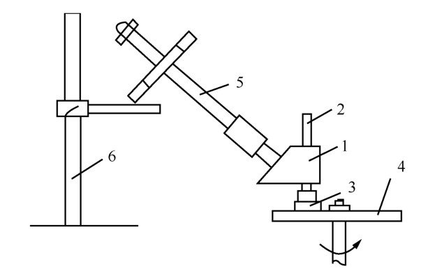
6.翻转宝石上杆(图11-4-9)

图11-4-9 换粘杆
1—平头粘杆;2—粘结有坯料的粘杆;3—粘结剂;4—粘接架
冠部研磨和抛光完毕后,将宝石坯料在酒精灯上加热,然后取下宝石坯料,掉转方向,将冠部粘接于一平头粘杆上。
7.亭部的研磨
亭部的研磨除无台面外,与冠部的研磨方法基本相似,具体步骤为:
(1)将粘杆安装到八角手上,调节主机平台,使毛坯与磨盘成40°,选用八角手的1孔位,通过八边的转动,磨出8个主面。
(2)下降主机平台,使毛坯与磨盘成43°,选用八角手的3孔位,通过八边的转动,磨出亭部左边的8个腰小面。
(3)保持平台不动,选用八角手的4孔位,磨出亭部右边的八个腰小面(如图11-4-10)。

图11-4-10 圆钻型亭部的研磨步骤
a—第一步磨出亭部8个面;b—第二步磨出16个下腰面
8.亭部的抛光
亭部抛光与冠部抛光一样,先抛8个亭部主面,再抛光16个腰小面。
9.后期处理
亭部抛光完毕后,若怕宝石亭部的底尖破损,可在底尖磨出一个小平面,并对该小面和腰部进行抛光。然后,将宝石和粘杆在酒精灯下加热,待胶融化后拆胶,把带有胶的宝石和粘杆分别放入酒精中,清洗宝石,最后用清水洗净即可。
